手动单向平板闸阀,手动双向平板闸阀SLVd s-0.1
一、 概述
手动单向平板闸阀,手动双向平板闸阀广泛适用于建材、冶金、矿山等行业粉尘物料流量控制的管道上。是控制粉尘物料流量的理想设备。
二、 技术参数
|
公称压力 |
0.6 |
|
适用温度(℃) |
≤150 |
|
适用介质 |
粉尘物料 |
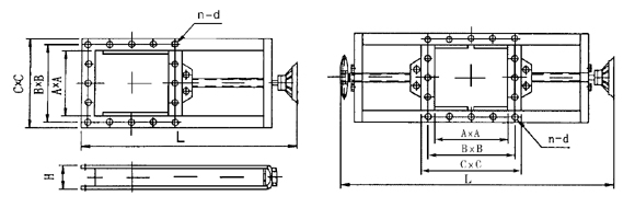
三、外形及安装尺寸


四、外形及安装尺寸:
|
类别 |
A×A |
B×B |
C×C |
L |
H |
n-d |
重量(kg) |
|
单向 |
200×200 |
256×256 |
306×306 |
820 |
120 |
8-Φ14 |
62 |
|
250×250 |
306×306 |
346×346 |
930 |
120 |
8-Φ14 |
70.5 |
|
|
300×300 |
356×356 |
396×396 |
1050 |
120 |
8-Φ14 |
81 |
|
|
400×400 |
456×456 |
496×496 |
1400 |
140 |
12-Φ14 |
114 |
|
|
450×450 |
510×510 |
556×556 |
1450 |
140 |
12-Φ14 |
130 |
|
|
500×500 |
560×560 |
606×606 |
1610 |
140 |
16-Φ14 |
147 |
|
|
双向 |
600×600 |
660×660 |
706×706 |
1830 |
160 |
16-Φ14 |
169 |
|
700×700 |
770×770 |
820×820 |
2130 |
160 |
20-Φ14 |
236 |
|
|
800×800 |
870×870 |
920×920 |
2440 |
180 |
20-Φ14 |
303 |
|
|
900×900 |
974×974 |
1030×1030 |
2660 |
180 |
24-Φ14 |
424 |
|
|
1000×900 |
1074×1074 |
1130×1130 |
2870 |
180 |
24-Φ14 |
636 |
|
|
说明 |
LMD-单向 |
I-手轮 |
距地面小于 链条节数M=0.105×-113(×是丝杆中心离地面高度) |
||||
|
LMS-双向 |
II-链轮 |
||||||


