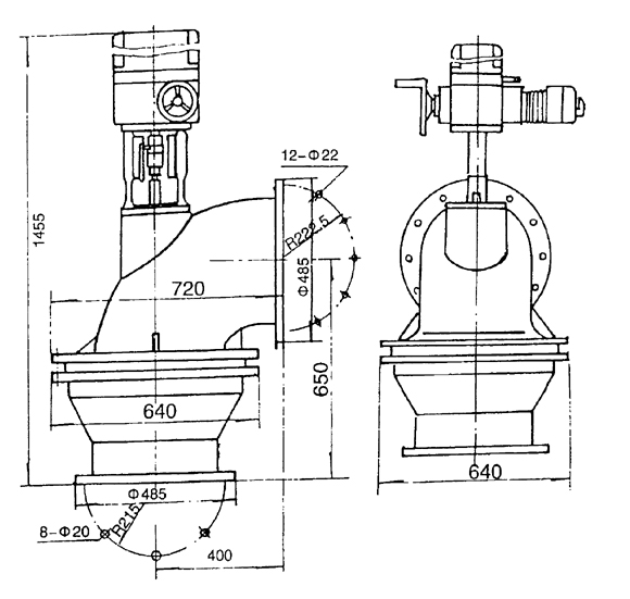
电动放风阀
电动放风阀构造上特殊地方是可以进行远距离操纵的电动驱动。移动放风阀瓣的大小,电动放风阀能方便地改变风量的大小,通过放风阀上的自动位置反馈输出信号。用DFD-09电动操作器显示阀门开度的大小。只要控制电动操作器,即可达到所需风量。
阀体公称直径:Φ
主阀座直径:Φ350,行程
执行器型号:DKZ-510,行程:
全程时间62S。电源:220V50HZ。功率:360W。

上一页:[阀门]
下一页:XG系列旋转加料器
电动放风阀构造上特殊地方是可以进行远距离操纵的电动驱动。移动放风阀瓣的大小,电动放风阀能方便地改变风量的大小,通过放风阀上的自动位置反馈输出信号。用DFD-09电动操作器显示阀门开度的大小。只要控制电动操作器,即可达到所需风量。
阀体公称直径:Φ
主阀座直径:Φ350,行程
执行器型号:DKZ-510,行程:
全程时间62S。电源:220V50HZ。功率:360W。
