ZSQ150-Ⅱ/2两库连体散装机
概述
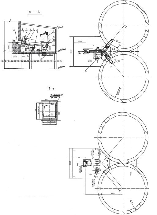
ZSQ150Ⅱ/2两库连体散装机具有库侧散装机的功能,卸料时根据实际情况,两库既可单Du卸料,也可同时卸料。各库用各自的卸料箱,库内承料槽和机头、截止阀,共用斜槽、斜槽风机、除尘器、料位仪、散装头和罗茨风机(或进气气源)。在有限的空间位置或库的物料需要混合时,建议使用两库或三库连体散装机。
技术要求
1、本平台四周应密封,以防风雨打,具体结构自定。
2、该散装机装车能力为60-150T/H,工作环境达标。
3、安装时,所有法兰均加密封材料。
4、本机工作时应打开相应库的截止阀。
5、罗茨风机可选R14,其压力为29.4KPA
风量为2.34m3/min,气源也可用减压后的气源代替。
6、其不同直径的均化库,其三通槽角度不同,可由实际情况定。

您可能会对以下产品感兴趣
产品好不好 用我们的业绩证明
奥普核心合作伙伴
企业规模怎么样 用我们的资质说明
生产能力怎么样 用我们的设备和团队表明
新闻动态
- 侧式悬臂堆料机的构造及原理
- 什么是 熟料散装机,有哪三大性能特点
- 什么是 气箱脉冲布袋除尘器,安装注意事项概述
- 桥式刮板取料机的特点及操作注意事项
- 什么是圆盘给料机,有哪些优势特点
- 斗式提升机的六大特点概述
- 操作连续式均化库的四大注意事项
- 移动式堆料机三大优势特点及使用步骤
- 关于网站内容违禁词、极限词失效说明
- 斗式提升机的工作过程分为哪三个阶段
- 什么是 熟料散装机,有哪三大性能特点
- 熟料散装机的安装要点概述,不可错过
- 什么是粉煤灰散装机,特点及应用怎样
- 熟料散装机的使用注意事项,了解吗
- 汽车散装机的安装、调试与运行要点讲解
- 熟料散装机的安装要点讲解,不可错过
- 粉煤灰散装机好评不断,靠的就是这几点!
- 了解熟料散装机的使用及维护注意要点
- 库底散装机,还不知道这些知识点
- 熟料散装机的相关安装步骤讲解


